Die Renovierungsarbeiten sind im Gange!
1. Abschnitt: ab April bis Herbst 2020:
Statische Instandsetzung mit umfassenden Renovierungs- und Sanierungsarbeiten (Dach, Empore, Mauerkrone, Putz ...)
2. Abschnitt: 2021/2022 - Innenrenovierung,
mit der Restaurierung der Altäre, Gemälde, Kreuze, Leuchter, Emporenbrüstung ... und Innenreparaturen mit Verputz.
Die Neugestaltung der Außenanlage ist auf Grund der knappen Finanzlage vorerst auf Eis gelegt!
Renovierungs-Überblick:
(Details bei den News des jeweiligen Jahres)
Oben: 1. Reihe: Befundsicherung Gesamtkapelle, 2. Reihe: Chorbogen (Fotos: Gebhard Eyerschmalz, Reicholzried)
Befundsicherung und Dokumentation zur restauratorischen Voruntersuchung
Kath. Kapelle St. Wendelin und St. Anna, Untermühlegg in 87538 Bolsterlang, Pfarrei Fischen
Gemeinde Bolsterlang, VG Hörnergruppe, Landkreis Oberallgäu, Reg.- Bez. Schwaben, Land Bayern
Ausführungsdatum: September 2014, erstellt im Auftrag der Kath. Pfarrgemeinde St. Verena
von Gebhard Eyerschmalz, Reicholzried, Februar 2015 (Fotos und Copyright)
Kath. Kapelle St. Wendelin und St. Anna, Untermühlegg in 87538 Bolsterlang, Pfarrei Fischen
Gemeinde Bolsterlang, VG Hörnergruppe, Landkreis Oberallgäu, Reg.- Bez. Schwaben, Land Bayern
Ausführungsdatum: September 2014, erstellt im Auftrag der Kath. Pfarrgemeinde St. Verena
von Gebhard Eyerschmalz, Reicholzried, Februar 2015 (Fotos und Copyright)
Kurzbeschreibung und Erscheinungsbild
Raumschale
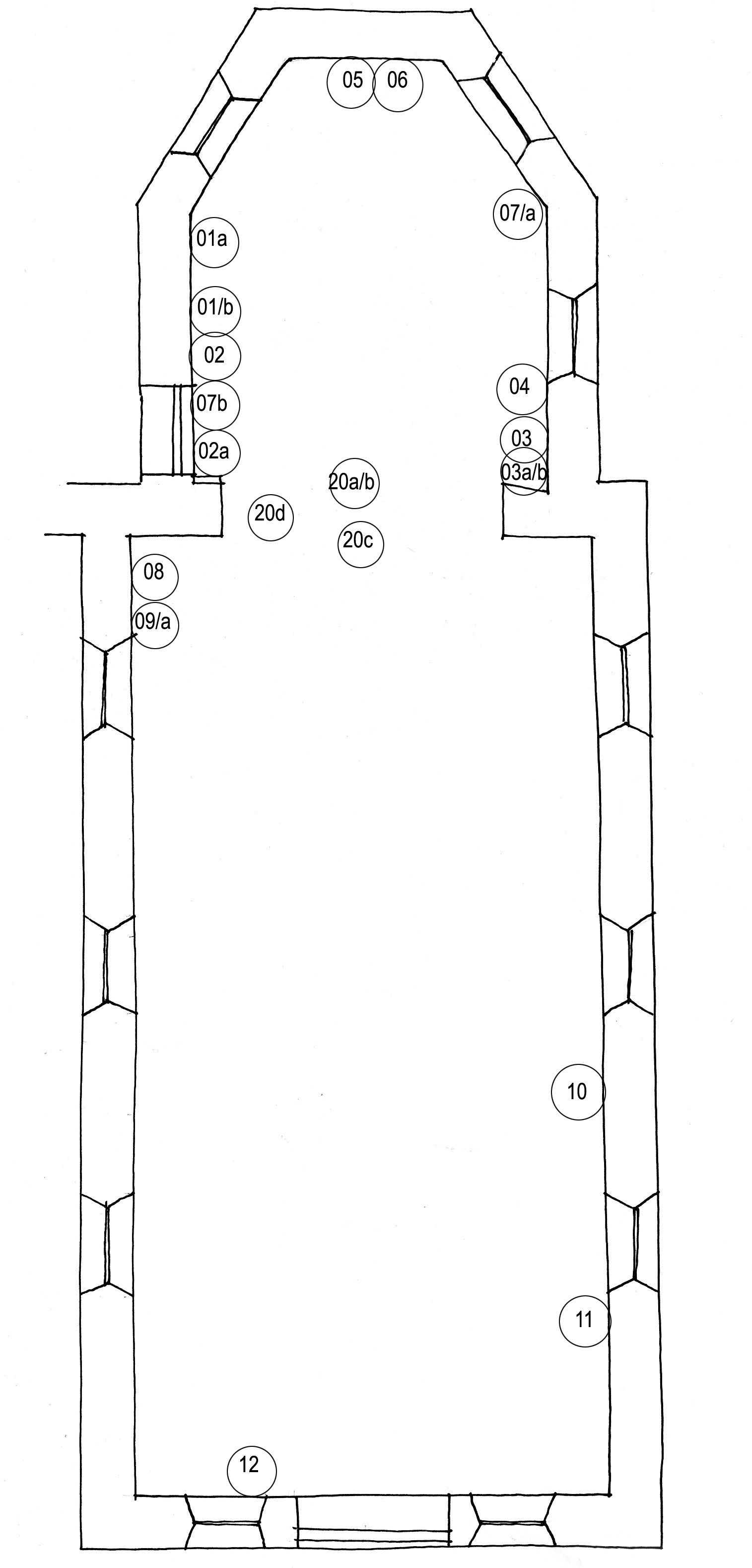
Der Kirchenraum gliedert sich in das Langhaus zu drei Fensterachsen und dem dreiseitig geschlossenen, nach Osten ausgerichteten Chor. Die Decke im Langhaus hat die Form einer segmentbogenartigen Brettertonne. Im Chor ist diese fünfseitig gebrochen und gegen den Schluss abgerundet. Auf der Nordseite des Chores befindet sich der Durchgang zur Sakristei. An der südlichen Westmauer ist neben der Eingangstüre der Treppenaufgang zur Empore. Die heutige Gestalt des Raumes geht auf den Umbau des Jahres 1706 zurück.
Ausstattung
Der barocke Hochaltar stammt aus dem Jahre 1684 wohl von Matthias Roth. Er hat zwei gedrehte Säulen mit aufgesetzten Laub und Traubenwerk, ein gekröpftes Gebälk mit zwei Wappen. In der Mitte ist die figürliche Darstellung einer bekrönten Muttergottes mit Jesuskind, Zepter und Strahlenkranz. Als Assistenzfiguren befinden sich links der hl. Wendelin und rechts der hl. Joachim. Im Auszug ist die hl. Anna Selbdritt umgeben von zwei großen Engeln. Darüber Erzengel Michael zwischen zwei Putten. Die farbige Marmorierung ist in rot und grün angelegt. Auf der Predella ist in der Mittelkartusche eine Renovierung aus dem Jahre MDCCCLXXII (1872) angegeben.
Die etwas einfacheren Seitenaltäre stammen vermutlich aus dem Jahre 1710. Im nördlichen Seitenaltar ist ein Leinwandbild mit der Abbildung des hl. Johannes der Täufer. Darüber im Auszug befindet sich eine Figur mit weißem Kleid (Hl. Verena). Ihm gegenüber befindet sich der Seitenaltar mit einem Leinwandbild des hl. Josefs. Darüber befindet sich im Auszug die Figur des Hl. Wendelins. Am südlichen Seitenaltar fehlen die geschnitzten und vergoldeten Zierwerke unterhalb der Säulen und der Sprenggiebel. Der neugotische Altartisch wurde überfasst. Ornamente der Erstfassung zeichnen sich ab.
Die Rückwand der Empore ist wie die Langhausdecke mit Brettern verkleidet und weiß gefasst. An der Vorderseite der Emporenbrüstung sind zwischen gezahnten Friesleisten die zwölf Apostel in einzelnen, aufrechten Tafelbildern dargestellt. Darüber sind deren goldene Namen in kräftig blauen Füllungen geschrieben. Direkt unterhalb der Empore ist ein mächtiges, später erweitertes schmiedeeisernes Flechtgitter mit Mitteltüre und Aufsatz eingebaut. In diesem (Vorraum) befinden sich auf der Südseite ein Harmonium und ein darüber an der Wand hängendes Gemälde von der Kreuzabnahme Jesu. An der Nordseite ist eine Kriegergedächtnistafel angebracht.
Die Kirchenbänke sind Naturholz belassen. Sie wurden vermutlich bei einer früheren Renovierung abgelaugt.
Auf der Nordseite des Langhauses hängen ein großes aus Holz geschnitztes Kruzifix und ein großes, gerahmtes Gemälde des guten Hirten. Die vierzehn Kreuzwegstationen sind unregelmäßig im Chor und Langhaus verteilt aufgehängt. Zudem sind neben der Sakristeitüre kleinere Heiligenbilder angebracht.
Zustand
Die Holzdecke im Chorraum hat im Gegensatz zur weiß gestrichenen Holzdecke des Langhauses eine blaue Farbfassung. An den Wandflächen, besonders im Chor, zeichnen sich dunkle Muster ab. Diese stammen von früheren Farbfassungen und bluten derzeit durch. Die Raumschale zeigt Risse an Wandflächen. Lose Fassungsschichten stehen auf und lösen sich vom Untergrund. Dies ist besonders im Sockelbereich des Chores sichtbar. Die Oberflächen sind verunreinigt und vergraut.
Die Oberflächen der Altäre sind vergilbt und verschmutzt. Ebenso die Leinwandbilder, bei denen der Firnis teilweise zerstört ist und sich wie ein weißer Schleier darauf abzeichnet. Die Leinwände wellen sich und frühere Retuschen sind deutlich sichtbar.
Raumschale
Der Kirchenraum gliedert sich in das Langhaus zu drei Fensterachsen und dem dreiseitig geschlossenen, nach Osten ausgerichteten Chor. Die Decke im Langhaus hat die Form einer segmentbogenartigen Brettertonne. Im Chor ist diese fünfseitig gebrochen und gegen den Schluss abgerundet. Auf der Nordseite des Chores befindet sich der Durchgang zur Sakristei. An der südlichen Westmauer ist neben der Eingangstüre der Treppenaufgang zur Empore. Die heutige Gestalt des Raumes geht auf den Umbau des Jahres 1706 zurück.
Ausstattung
Der barocke Hochaltar stammt aus dem Jahre 1684 wohl von Matthias Roth. Er hat zwei gedrehte Säulen mit aufgesetzten Laub und Traubenwerk, ein gekröpftes Gebälk mit zwei Wappen. In der Mitte ist die figürliche Darstellung einer bekrönten Muttergottes mit Jesuskind, Zepter und Strahlenkranz. Als Assistenzfiguren befinden sich links der hl. Wendelin und rechts der hl. Joachim. Im Auszug ist die hl. Anna Selbdritt umgeben von zwei großen Engeln. Darüber Erzengel Michael zwischen zwei Putten. Die farbige Marmorierung ist in rot und grün angelegt. Auf der Predella ist in der Mittelkartusche eine Renovierung aus dem Jahre MDCCCLXXII (1872) angegeben.
Die etwas einfacheren Seitenaltäre stammen vermutlich aus dem Jahre 1710. Im nördlichen Seitenaltar ist ein Leinwandbild mit der Abbildung des hl. Johannes der Täufer. Darüber im Auszug befindet sich eine Figur mit weißem Kleid (Hl. Verena). Ihm gegenüber befindet sich der Seitenaltar mit einem Leinwandbild des hl. Josefs. Darüber befindet sich im Auszug die Figur des Hl. Wendelins. Am südlichen Seitenaltar fehlen die geschnitzten und vergoldeten Zierwerke unterhalb der Säulen und der Sprenggiebel. Der neugotische Altartisch wurde überfasst. Ornamente der Erstfassung zeichnen sich ab.
Die Rückwand der Empore ist wie die Langhausdecke mit Brettern verkleidet und weiß gefasst. An der Vorderseite der Emporenbrüstung sind zwischen gezahnten Friesleisten die zwölf Apostel in einzelnen, aufrechten Tafelbildern dargestellt. Darüber sind deren goldene Namen in kräftig blauen Füllungen geschrieben. Direkt unterhalb der Empore ist ein mächtiges, später erweitertes schmiedeeisernes Flechtgitter mit Mitteltüre und Aufsatz eingebaut. In diesem (Vorraum) befinden sich auf der Südseite ein Harmonium und ein darüber an der Wand hängendes Gemälde von der Kreuzabnahme Jesu. An der Nordseite ist eine Kriegergedächtnistafel angebracht.
Die Kirchenbänke sind Naturholz belassen. Sie wurden vermutlich bei einer früheren Renovierung abgelaugt.
Auf der Nordseite des Langhauses hängen ein großes aus Holz geschnitztes Kruzifix und ein großes, gerahmtes Gemälde des guten Hirten. Die vierzehn Kreuzwegstationen sind unregelmäßig im Chor und Langhaus verteilt aufgehängt. Zudem sind neben der Sakristeitüre kleinere Heiligenbilder angebracht.
Zustand
Die Holzdecke im Chorraum hat im Gegensatz zur weiß gestrichenen Holzdecke des Langhauses eine blaue Farbfassung. An den Wandflächen, besonders im Chor, zeichnen sich dunkle Muster ab. Diese stammen von früheren Farbfassungen und bluten derzeit durch. Die Raumschale zeigt Risse an Wandflächen. Lose Fassungsschichten stehen auf und lösen sich vom Untergrund. Dies ist besonders im Sockelbereich des Chores sichtbar. Die Oberflächen sind verunreinigt und vergraut.
Die Oberflächen der Altäre sind vergilbt und verschmutzt. Ebenso die Leinwandbilder, bei denen der Firnis teilweise zerstört ist und sich wie ein weißer Schleier darauf abzeichnet. Die Leinwände wellen sich und frühere Retuschen sind deutlich sichtbar.
November 2014:
Seit September 2013 wurden statische Untersuchungen an der Kapelle vorgenommen. Dabei wurden erhebliche bauliche Mängel an den tragenden Teilen festgestellt. Eine Sofortmaßnahme mit der Abstützung des Chorbogens war im November 2014 unabdingbar, um das Betreten der Kapelle überhaupt weiterhin zu ermöglichen.
Alle weiteren notwendigen Arbeiten wurden erfasst und die voraussichtlichen Kosten berechnet.
Die Sanierung wird ca. 400.000 Euro kosten!!!
Dezember 2017 (Kirchenpfleger Gerhard Sauter):
Die Renovierung der „St. Wendelin und Anna - Kapelle“ in Untermühlegg ist für die Jahre 2019 und 2020 vorgesehen. Alle vorbereitenden Untersuchungen und Maßnahmen sind abgeschlossen und der außerordentliche Haushalt von der Diözese genehmigt.
Um die Baukosten von 400.000 € aufzubringen, wurden bereits alle möglichen Zuschussgeber um Mithilfe gebeten.
Seit September 2013 wurden statische Untersuchungen an der Kapelle vorgenommen. Dabei wurden erhebliche bauliche Mängel an den tragenden Teilen festgestellt. Eine Sofortmaßnahme mit der Abstützung des Chorbogens war im November 2014 unabdingbar, um das Betreten der Kapelle überhaupt weiterhin zu ermöglichen.
Alle weiteren notwendigen Arbeiten wurden erfasst und die voraussichtlichen Kosten berechnet.
Die Sanierung wird ca. 400.000 Euro kosten!!!
Dezember 2017 (Kirchenpfleger Gerhard Sauter):
Die Renovierung der „St. Wendelin und Anna - Kapelle“ in Untermühlegg ist für die Jahre 2019 und 2020 vorgesehen. Alle vorbereitenden Untersuchungen und Maßnahmen sind abgeschlossen und der außerordentliche Haushalt von der Diözese genehmigt.
Um die Baukosten von 400.000 € aufzubringen, wurden bereits alle möglichen Zuschussgeber um Mithilfe gebeten.
Selbst wenn die erhofften Zuschüsse gewährt werden, sind immer noch Eigenmittel von 65.000 € aufzubringen. Deshalb bitten wir
alle, denen diese kunsthistorisch so wertvolle Kapelle am Herzen liegt, um eine Spende.
Mai 2019 (Kirchenpfleger Bernhard Graf):
Die Renovierung wird/kann im
Frühjahr 2020 starten.
An Eigenmitteln sind noch ca. 50.000 € aufzubringen.
Zusätzlich sind noch ein paar Abstimmungen - Kostenübernahme/Terminierung - und natürlich auch die Ausschreibungen für die einzelnen Gewerke zu tätigen. Doch Kirchenpfleger Bernhard Graf ist zuversichtlich, dass "nächstes Jahr im Mai das Baugerüst steht".
April 2020
- die Renovierungsarbeiten wurden begonnen:
1. Abschnitt: ab April bis November 2020:
Statische Instandsetzung mit umfassenden Renovierungs- und Sanierungsarbeiten (Dach, Empore, Mauerkrone, Putz ...)
1. Abschnitt: ab April bis November 2020:
Statische Instandsetzung mit umfassenden Renovierungs- und Sanierungsarbeiten (Dach, Empore, Mauerkrone, Putz ...)
2020 durchgeführte Renovierungsarbeiten:
Gerüstarbeiten: Arbeitsgerüst für Fassaden- und Dacharbeiten
Abbrucharbeiten: Schindeldach einschließlich Unterkonstruktion, Ausbau Sicherungsmaßnahmen, Ausbau Decke Empore, Abbruch Mauerkrone
Beton- und Stahlbetonarbeiten: Zugbänder eingebaut, Stahlbetonüberzug
Dachdeckerarbeiten: neue Schindeldeckung
Spenglerarbeiten: bestehende Dachentwässerung abgebrochen, neue Dachentwässerung (wieder Kupfer) eingebaut
Putzarbeiten: Putzrisse repariert
Zimmererarbeiten: Schutzdach erstellt, Dachzugang erstellt, Dachstuhl saniert und statisch ertüchtigt, Decke wieder eingebaut
Malerarbeiten: Außenanstrich Fassade und Dachkonstruktion
Baunebenkosten: Planung, Ausschreibung, Objektüberwachung und -betreuung; Tragwerksplanung
Statische Voruntersuchung, Berechnung, Prüfung Abbruch, Fachbauleitung,- Sicherheits-
und Gesundheitsschutzkoordination,- Befunduntersuchungen
2. Abschnitt: 2021/2022 - Innenrenovierung und evtl. Außenanlagen
November 2021 - Information zur Kapellenrenovierung (Christiane Bietsch (Auszug - ges. Text bei "News 2021"))
Nachdem die Außenrenovierung unserer Kapelle bereits Ende des Jahres 2020 erfolgreich abgeschlossen werden konnte, wurde im September 2021 nun endlich mit der Innenrenovierung begonnen.
Die veranschlagten finanziellen Aufwendungen für die Innenrenovierung wurden nach Einholung der Angebote teils deutlich überschritten. Die Finanzierung konnte dank einer verbindlichen Zuwendung durch den Kapellenverein Untermühlegg e.V. gesichert werden. Mit den durch die Gönner und Spender bereitgestellten Mitteln war es uns schließlich möglich nahezu die komplette Restaurierung der Sakralen Elemente wie Altäre, Bilder und Figuren zu übernehmen und zu sichern.
Die veranschlagten finanziellen Aufwendungen für die Innenrenovierung wurden nach Einholung der Angebote teils deutlich überschritten. Die Finanzierung konnte dank einer verbindlichen Zuwendung durch den Kapellenverein Untermühlegg e.V. gesichert werden. Mit den durch die Gönner und Spender bereitgestellten Mitteln war es uns schließlich möglich nahezu die komplette Restaurierung der Sakralen Elemente wie Altäre, Bilder und Figuren zu übernehmen und zu sichern.
Es liegt auf der Hand, dass ein solches Projekt der Unterstützung Vieler bedurfte/bedarf.
Deshalb hoffen wir auf Menschen, denen die Kapelle - genau wie uns - am Herzen liegt.
Gerne können Sie als Zeichen Ihrer Mithilfe dem Kapellenverein beitreten (Mitgliedsbeitrag 15,00 EUR).
Oder Sie unterstützen die Erhaltung der Kapelle durch eine finanzielle Zuwendung.
Deshalb hoffen wir auf Menschen, denen die Kapelle - genau wie uns - am Herzen liegt.
Gerne können Sie als Zeichen Ihrer Mithilfe dem Kapellenverein beitreten (Mitgliedsbeitrag 15,00 EUR).
Oder Sie unterstützen die Erhaltung der Kapelle durch eine finanzielle Zuwendung.
Oder ...
Wir sind für jede Unterstüzung von Herzen dankbar!!!
Selbstverständlich können Sie von uns hierfür eine steuerlich absetzbare Spendenbescheinigung erhalten!
Bankverbindung: Raiffeisenbank Kempten-Oberallgäu eG - IBAN: DE 65 7336 9920 0000 0490 00, BIC: GENODEF1SFO
---






















